
Data valabilitate:
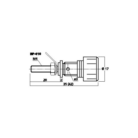
Set poli terminali Monacor BP-410. Perechea de terminale cu pol de difuzoare Versiune placă cu nichel, poate fi înșurubată și conectată, pentru terminale din plastic, neizolată.
In acest moment suntem in afara orelor de lucru. Program: